Mô tả sản phẩm - Bộ kit điều khiển cửa cuốn tần số 433Mhz mã cố định. - Kết nối trực tiếp...
- Bộ kit điều khiển rèm cửa kết nối trực tiếp với motor ống để điều khiển rèm cửa. - Có...
Mô tả sản phẩm CHÚ Ý: Bộ điều khiển cửa cuốn và điện thoại phải kết nối chung một mạng Wifi...
Giới thiệu sản phẩm Arduino Uno R3 là dòng cơ bản, linh hoạt, thường được sử dụng cho người mới bắt...
Mô tả Module là phiên bản thứ 3 trong dòng các board NodeMCU ESP8266 tích hợp chip ESP8266. Thông số kỹ thuật Hỗ...
Giới thiệu sản phẩm Arduino Pro Micro dùng vi xử lý ATmega32u4, phiên bản Arduino Micro được sản xuất...
Mô tả sản phẩm - Module Arduino NodeMcu Lua ESP8266 ESP-12 như một bo mạch phần cứng nguồn mở, bao gồm một...
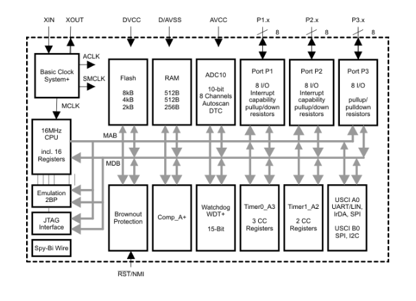
Vi điều khiển MSP430F2132 TSSOP28 là một dòng chip mạnh mẽ của Tl nay đã có phiên bản 28 chân giúp cho việc giao tiếp đa năng hơn, nhiều tính năng hơn, tiết kiệm chi phí hơn. Chip được thiết kế dạng SMD thuận tiện cho việc lắp đặt dễ dàng và tối ưu kích thước của mạch.

Mô tả sản phẩm Vi điều khiển MSP430F1222 là một dòng chip mạnh mẽ của Tl nay đã có phiên bản...
Mô tả sản phẩm Vi điều khiển MSP430F1232 là một dòng chip mạnh mẽ của Tl nay đã có phiên bản...
Mô tả sản phẩm Vi điều khiển MSP430F123 là một dòng chip mạnh mẽ của Tl nay đã có phiên bản...
Mô tả sản phẩm Vi điều khiển MSP430F2131 TSSOP20 là một dòng chip mạnh mẽ của Tl nay đã có phiên bản...
Mô tả sản phẩm Vi điều khiển MSP430F4152 là một dòng chip mạnh mẽ của Tl nay đã có phiên bản 64 chân...
Mô tả sản phẩm Vi điều khiển MSP430F415IPMR LQFP64 là một dòng chip mạnh mẽ của Tl nay đã có phiên bản 64...
Mô tả sản phẩm Vi điều khiển MSP430G2111 TSSOP14 là một dòng chip mạnh mẽ của Tl nay đã có phiên...
Mô tả sản phẩm - Module thu phát RF E32-DTU-1W RS485 RS232 433MHz LoRa SX1278 là module thu phát sóng RF sử dụng...
Cách nối dây: - Dây màu xanh và đỏ: là dây stop - Dây màu trắng và đen: là dây lên -...
Thông số kỹ thuật : 1) Tần số hoạt động: 890-960MHz 2) Tăng công suất:> 30dB 3)...
Hướng dẫn sử dụng: Download
Hướng dẫn sử dụng: Download